Opis produktu Kabina prysznicowa, pięciokątna 90x90 Stylio BK502PT+

Kabina prysznicowa pięciokątna, firmy Sea-Horse. Indeks producenta: BK502PT+ Stylio
Kolor: profile chrom / szkło przeźroczyste z powłoką CLEAN GLASS.
 
 Wymiar 90x90x190 cm
BEZPIECZNE SZKŁO HARTOWANE 6 mm to bezpieczeństwo i komfort kąpieli oraz świadectwo dobrej jakości.
PIĘKNE CHROMOWANE PROFILE pozwalając na idealne zamontowanie kabiny.
PROSTA BUDOWA ułatwia utrzymanie kabiny w idealnej czystości przy niewielkim nakładzie pracy.
USZCZELKA MAGNETYCZNA zastosowana dla zachowania minimalistycznych trentów w projektowaniu oraz najwyższej estetyki i funkcjonalności produktu.

Prezentowaną kabina prysznicowa pokryta jest specjalną powłoką NanoGlass,
która przeciwdziała nadmiernemu osadzaniu się kamienia oraz osadów mydlanych,
jak również ułatwia utrzymanie kabiny w czystości.
Specyfikacja kabiny :
- Wymiary [cm]: 90x90
- Wysokość [cm]: 190 (bez brodzika)
- Kolor szkła przeźroczysty
- Regulowany przyścienny profil
- Drzwi uchylne
- Elastyczna uszczelka magnetyczna - gwarancja szczelnego domknięcia
- Szkło hartowane / 6 mm
- Mosiężne zawiasy
- Kabina uniwersalna prawa/lewa
- Możliwość montażu na brodziku lub posadzce
- Gwarancja 3 lata

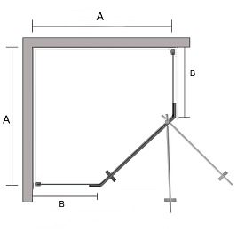
Wymiar A 88-89 cm
Wymiar B 42 cm
Wymiar C 62 cm
Wymiar H 190 cm

 
  
  
  
 



 
 




































